西安住建局:西安市优化建筑市场营商环境二十四条措施
近日,西安市住房和城乡建设局为进一步优化建筑市场营商环境,激发市场主体活力,推动建筑行业高质量发展,印发《西安市优化建筑市场营商环境二十四条措施》。
原文如下:

各区县、西咸新区、各开发区住建局,局机关各处室、直属事业单位,相关建筑行业协会,各建筑业企业:
为进一步优化建筑市场营商环境,激发市场主体活力,推动建筑行业高质量发展,现将《西安市优化建筑市场营商环境二十四条措施》印发给你们,请认真贯彻执行。
西安市住房和城乡建设局
2023年5月6日
西安市优化建筑市场营商环境二十四条措施
为推动建筑行业高质量发展、支持企业转型升级、提升建筑市场营商环境,现结合实际,制定如下措施:
一、聚焦建筑行业发展转型升级
(一)支持企业做大做强。对晋升特级(综合)资质的施工、设计、监理企业和年度首次建筑业产值达到一定规模的施工企业,在评优评先、资质增项方面予以支持。
(二)创新工程建设组织模式。鼓励政府投资项目优先采用工程总承包或全过程咨询模式组织施工,在全市范围内培育一批工程总承包和全过程咨询企业,孵化一批工程总承包和全过程咨询试点项目。
(三)建立绿色金融支持体系。充分运用金融部门的绿色金融政策导向,畅通银企沟通合作渠道,为城乡建设绿色发展项目争取绿色金融支持。
(四)激发企业争创精品。鼓励工程项目甲乙双方在合同条款中约定,增列优质优价费计入工程造价,对获得国家、省级和市级优质工程质量奖项的,分别按不低于工程结算造价1.5%、1.0%和0.8%的标准计取费用;将国家、省市级认定的装配式建筑、绿色施工、智能建造等观摩示范项目直接评为“市级文明工地”,并列入“雁塔杯”工程奖评选范围。
(五)推进建筑劳务用工制度改革。支持鼓励有实力的建筑企业、职业院校加入建设行业职业教育培训队伍,对自有工人开展职业教育培训并统一发放证书。倡导企业及技术工人参加“长安建筑大工匠”“西安市高技能人才培训基地”“西安市技能大师工作室”“西安市首席技师”评选,打造具有地方行业特色、引领高技能操作水平的建筑工匠队伍。
(六)举办“智能建造”大讲堂活动。邀请相关企业、高校、研究院专家学者,组建“智能建造”讲师团队开展系列讲座。积极探索新的政策体系、发展路径和监管模式,加强工业化、数字化、智能化技术集成应用推广力度,引领带动行业提质增效。
二、聚焦服务保障水平逐步提高
(七)扎实开展企业包抓帮扶。开展“助企送服务”活动,对2022年产值10亿元以上的重点建筑业企业进行“一对一”包抓,摸清企业现状、了解企业困难、倾听企业诉求、解决企业问题,推进建筑业企业健康发展。
(八)搭建政企双向交流平台。发挥住建部门行业牵头作用,联合发改、交通、水利等市级部门和城投集团、安居集团、轨道交通集团等市级平台公司,不定期与重点建筑业企业进行会商交流,支持本地企业平等参与交通、能源、水利、基础设施等重大项目建设。
(九)做好重点企业培育扶持。建立重点建筑企业培育名录,搭建重点企业扶持“绿色通道”,支持符合条件的施工总承包和设计企业积极申请资质升级、增项。
(十)完善材料价格信息采集发布机制。推进工程造价指标信息数据库的建立完善,优化建筑材料价格采集机制,提高材料价格信息的及时性,定期发布《西安造价信息》,为市场各方在项目决策、成本控制等方面提供参考。
(十一)提高项目策划生成效率。深化工程建设项目审批管理系统和“一张图”等系统平台的互联互通和数据共享,加快推进工程建设项目前期策划生成规范化、制度化,简化项目后续审批手续,加快项目落地开工、投产投效速度。
(十二)优化竣工验收流程。对办理一个建设工程规划许可证但涉及多个单位工程的工业厂房、仓库类工程建设项目,在符合项目整体质量安全要求、达到安全使用条件的前提下,对已满足使用功能的单位工程开展单独竣工验收。
(十三)指导行业协会发挥作用。引导行业协会进行精简、整合,指导协会开展行业调查、行业统计和行业标准制定等工作,充分发挥协会在政企双向的“传送带”“分流器”和“上挂下联”作用,为企业提供更好的服务。
三、聚焦企业经营需求盘活资源
(十四)加大城建领域投资力度。全年完成城建投资1200亿元以上,市本级投资增加10%以上,保障城建项目和运行类刚性支出,发挥好财政资金对稳增长、促投资的引领作用。
(十五)建立政金企融资对接协调机制。联合金融工作管理部门定期摸排有融资需求的建筑施工、勘察设计、装配式等企业,建立重点企业“白名单”。调动金融机构与企业积极性,实现有效衔接,扩大信贷投放,为全市项目建设、建筑业企业发展提供资金支持。
(十六)全面推行施工过程结算。全面推行工程建设领域过程结算,工程预付款不得低于合同总价(扣除暂列金额)的10%,工程完工后,除按规定预留质量保证金外,其余工程款应全部支付,任何单位不得以未进行或未完成审计为由延期结算。
(十七)做好项目生产要素保障。聚焦“人、材、机”生产要素,引导两类企业建立商品混凝土等材料交易的信息化渠道,转变经营模式,加速传统产业与信息化深入融合;联合人力资源管理部门对有用工需求的企业召开建筑类专场招聘会,为企业和求职者搭建专业化对接平台。
(十八)增调安全文明施工费率。加大对安全文明措施费一次性支付的督导检查力度,启动安全文明施工费调研测算工作,争取增调安全文明措施费中的扬尘污染治理费费率,进一步降低建筑企业经营成本。
(十九)加快劳保统筹费用返还。通过简化资料、优化流程、推行承诺制等措施加快办理劳保费返还,2023年计划返还10亿元以上,有效缓解企业资金困难。
四、聚焦建筑市场环境不断优化
(二十)持续净化建筑市场环境。开展建筑市场“三包一挂”专项整治行动,严厉打击违法发包、转包、分包及挂靠等违法违规行为,建设公平、公开、公正、竞争有序的建筑市场。
(二十一)做好农民工工资拖欠防治。构建“1+1+4”防欠治欠工作体系,成立清欠工作小组,同人力资源管理部门联合构建根治欠薪联动机制,打好清欠工作“组合拳”,切实维护农民工合法权益。
(二十二)构建以信用为核心的监管机制。搭建涵盖“建设、施工、监理、勘察、设计”的住建领域市场主体信用平台,定期发布企业信用风险等级,实施差异化监管,积极推行信用结果跨行联动、互认共享,促进建筑市场各方主体诚信守法经营。
(二十三)强化安责险服务功能。完善安责险事故预防服务体系,实行第三方服务机构名录库动态管理制度,强化保险机构事故预防技术服务规范落实、高效开展,切实助力企业防范安全风险。
(二十四)推行包容审慎监管。对施工过程中发现的轻微违法的初次违法行为,采取上门监督服务、主动指导、预先提醒、告知承诺等措施,对及时纠正的,不予行政处罚,引导企业自觉遵守法律法规。
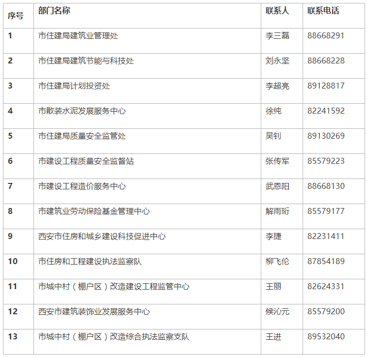
附件:涉及部门联系方式
附件
涉及部门联系方式

下一篇: 持续招投标创新改革 优化营商环... 上一篇: 住建部:即日起,废止行政性规范...


